CLARE依據不同的工藝要求,推出不同的工作定子頭,供用戶選擇 |
|
|
粉碎頭
適合于普通混合工藝,大顆粒的粉碎也可適用于較高粘度的物料攪拌。 |
|
|
|
|
混合頭
提供較高的剪切力,也可適用于均質,乳化工藝,分散穩定性好。 |
|
|
|
|
|
|
乳化頭
提供更高的剪切力,均質,乳化效果更高乳液穩定性******。 |
|
|
|
|
|
|
其他部件
螺旋槳葉—安于轉子軸上的兩個螺旋槳葉,分別用于增加筒內液料的循環,渦流及翻動,促進物料均質、分散、乳化。 |
|
|
|
插入式螺旋槳葉 |
循環螺旋槳 |
軸套- TEFLON材質,滿足衛生要
求,乃溫耐腐蝕。 |
|
|
 |
CLARE應用工程師建議:在常溫常壓或工作溫度<100℃,常壓工作狀態下,DE-100系列是最好選擇,其良好的穩定性可使用戶獲得更高品質產品。
DE-100系列高剪切分散乳化機可供選擇項:
◆馬達:普通電機、防爆電機、防水船用電機、變頻調速電機等可供選擇。
◆轉速:通常狀態下2900rpm,轉速也可變頻調速使轉速升高或下降,但匹配相應變頻器。
◆材質:304SUS、316、316L選擇。
◆工作頭:不同功能的粉碎頭、混合頭、乳化頭可供選擇,適用不同工藝、不同物料。
◆碳鋼或不銹鋼手動液壓升降工作架和重型工作架可供選擇,簡化操作程序。
◆有匹配的反應釜供選擇配套使用,使物料達******組合,乳化效果。
◆依據用戶自備反應釜的大小,高剪切分散乳化機工作長度可加長或縮短。 |
|
|
固定式安裝:
間歇式設備與容器配置關系式:
H=(2-3)xA
I=(5-10)xA
注:括號內的數據請根據物料的粘度、稠度、固定量、處理量等情況而定。
|
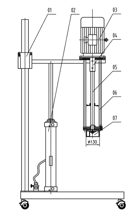
配置簡易手動液壓升降工作架--高速剪切乳化機 |
|
●手動液壓升降、可移動工作架
●移動工作架由液壓油缸與移動架組成
●底部配備四個帶剎聚胺脂滑輪,可前塥左右移動
●工作時不會出現劇烈晃動
●成本低,操作使用方便,經濟實用性高 |
|
|
|
|
|
|
配置液壓工作站升降--高速剪切乳化機 |
|
|
|
|
|
|
|
配置氣動升降、可移動工作架--高速剪切乳化機 |
|
|
|
|
|
|
|
DE100系列 |
101 |
105 |
110 |
125 |
130 |
150 |
175 |
1100 |
功率 |
1.1 |
4 |
7.5 |
18.5 |
22 |
37 |
55 |
75 |
速度(轉/分) |
2880 |
2880 |
2880 |
2880 |
1440 |
980 |
980 |
980 |
較低法蘭直徑 B |
120 |
190 |
200 |
230 |
280 |
405 |
460 |
550 |
軸套長度 C(mm) |
617 |
852 |
1130 |
1276 |
1465 |
1649 |
2031 |
2500 |
總高度 D(mm) |
880 |
1220 |
1550 |
1840 |
2100 |
2400 |
3056 |
4800 |
連接法蘭直徑E |
240 |
300 |
360 |
420 |
420 |
630 |
680 |
780 |
安裝尺寸 F(mm) |
220 |
275 |
330 |
385 |
385 |
590 |
620 |
700 |
安裝螺栓 n-M |
4-M10 |
4-M10 |
4-M16 |
4-M20 |
8-M20 |
8-M24 |
8-M24 |
8-M30 |
處理能力水
(L/Min) |
20-100 |
50-200 |
100-1000 |
200-2000 |
300-3000 |
1000-5000 |
2000-10000 |
5000-15000 |
重量約 (kg) |
41 |
73 |
168 |
300 |
523 |
614 |
818 |
1010 |
|
|
 |
|
|
|
|